1. 概述

当我们需要报告定时自动去刷新数据时(比如每个工作日早上8点刷新图表数据),可以对报告添加刷新计划(注:只有项目管理员可以使用刷新计划功能)。

2. 功能介绍

(1)在报告阅览状态下,点击报告右上角“刷新数据”右侧的下拉按钮,在弹出的菜单列表内可以看到“设置刷新计划”的按钮。

(2)比如我们可以设置报告在每个工作日的8点刷新数据。

当同一时间点有很多的报告都需要执行刷新计划时,可能需要排队,最后刷新的执行时间会比设置的时间有一定的延后,对于比较重要的报告,可以将对应的刷新计划设置为高优先级,调度系统处理同时段的刷新计划时,将优先执行高优先级的刷新计划。

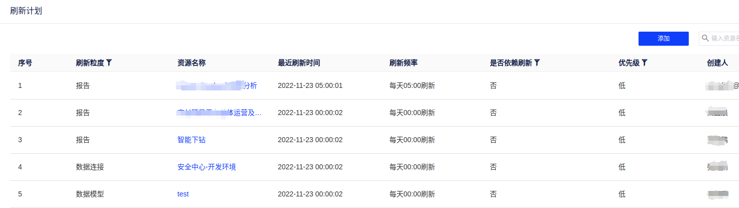
(3)在报告阅览状态下,点击“刷新计划管理”进入管理界面;也可以直接从项目中心进入刷新计划管理界面,如下图所示:

(4)在刷新计划管理界面,可以对数据连接或数据模型添加刷新计划。

需要注意的是,系统并不会储存连接的数据库中的完整数据,系统缓存的只是每张图表对应SQL语句的查询结果,每次刷新也只是重新执行一次SQL查询并缓存查询结果,并不会将整个数据库的完整数据同步至系统。对数据连接或数据模型添加刷新计划时,其实相当于对使用到该连接(或模型)的所有报告添加了刷新计划,使用到该连接(或模型)的所有报告将按照刷新计划刷新报告图表的数据。

(5)在刷新计划管理界面,我们可以看到该项目下所有的刷新计划,并进行统一管理维护。