V8.15版本重要功能更新
1. 数据源
1、数据抽取:抽取设置新增数据抽取范围,过滤掉过时和无效数据,提高抽取效率。在创建或编辑数据任务时,可在底部添加[抽取数据范围],可选择当前表中的字段作为范围依据。

- 若是滚动抽取,抽取范围则为依据字段和抽取数据范围的交集部分
2、数据抽取:数据任务新增数据清理,支持手动清理冗余数据。通过选取表中的日期类型字段作为清理依据,手工单次清理,每次清理仅针对当前数据生效。

2. 报告
1、控件:文本框组合时编辑弹窗优化。文本框与其他组件多选时不显示文本编辑栏;文本框与文本框多选时显示文本编辑栏,编辑栏位置位于所有文本框的左上角(插入链接置灰不支持)。

2、控件:翻页器支持调整字体、字号大小。

3、控件:改进饼图内部标签显示策略,解决标签重叠问题。
3. 大屏Pro
1、趋势类图表、K线图:x轴的日期字段支持配置显示格式
2、图表组件X轴数据显示优化
3、响应事件的逻辑关系样式优化
4、增加大屏视频和文档入口
5、AI智能组件的导出优化
4. 数据表格
1、顶部工具栏:公式栏增加”占比“,提高公式和数据配置效率。

2、特殊筛选条件(not in):行列定义、层级维表筛选新增“不属于(Not In)”筛选功能。

3、特殊筛选条件(not in):支持选择多个单元格,产品自动解析所选范围应用的字段
4、接口:新增数据资产接口,以便第三方系统获取数据
5、新增指标系统对接,用户可基于指标系统的数据完成报表快速制作。
- 对接指标平台的全局变量开启后,原数据面板顶部显示【模式切换】按钮;以下三类面板中均支持模式切换:

6、细节优化:查看报表时,将默认打开第一个sheet页;优化编辑态模型列表性能,提高操作效率
5. 数据填报
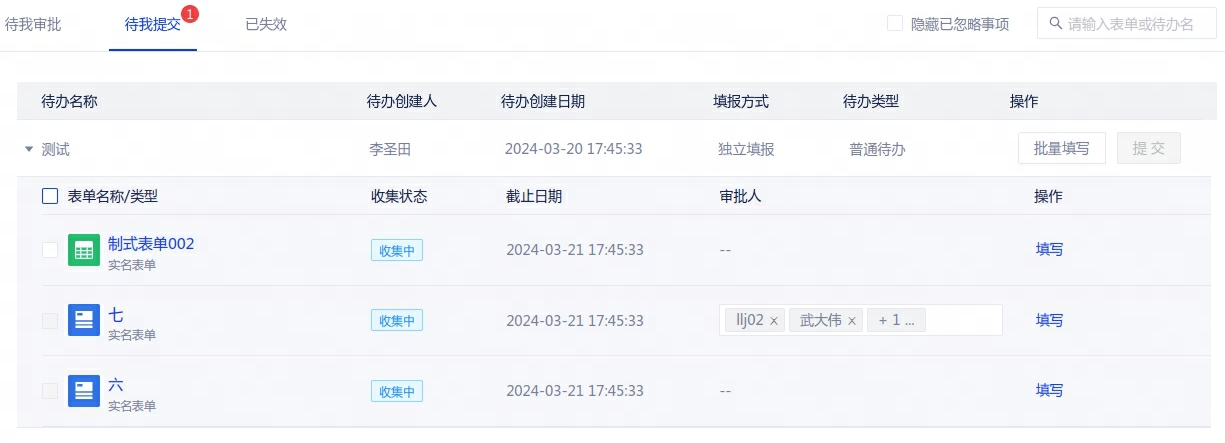
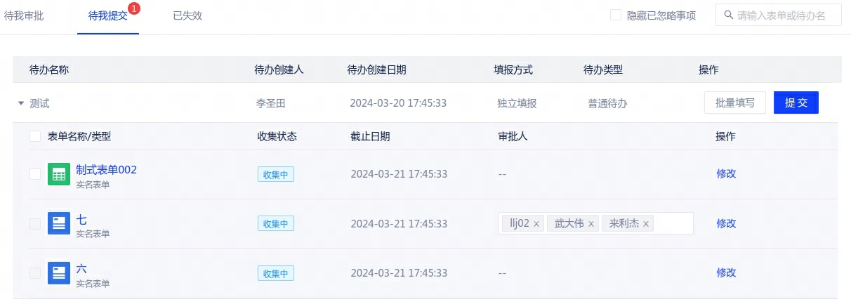
数据填报支持批量上传excel,适用于定期批量填报的业务场景(PS:一个待办任务中最多可上传50个且不大于2MB的excel文件)
在[项目中心]-[填报管理]-[定时/非定时待办]中创建一个待办任务,待办模式需选择“待办组”,最多可选择50个需要接收人一次性提交的表单;

待办发布后,接收人在[待我提交]页面中可针对当前待办选择批量填写或逐个填写;

选择批量填写时,上传excel文件单个不可大于2MB;上传后系统会自动进行批量校验,若校验不通过需根据提示修改后重新上传

待所有表单填写完成后,右上角提交按钮将自动点亮,点击后系统会再次进行校验,若全部通过则待办完成

6. 数据门户
引入数据门户的报告、数据填报、数据表格下载按钮优化

7. 项目管理与其他
1、资源权限:新增”项目中心“权限,拥有该权限的普通用户可在项目中心进行资源导入导出管理

2、用户管理:拥有管理角色的用户,可在[权限管理]-[用户管理]-[授权]页面授予其他用户资源权限
3、角色管理:管理角色增加数据表格模块,拥有管理角色的用户可授权数据表格的权限

4、审批管理:数据模型在添加网关条件时,可配置发起人是资源创建人分支;

- 用户任务增加自动审批类型(自动通过或终止)

5、数据模型、数据表格新增导出权限控制项
6、浏览器标签页新增显示页面标题,标题格式:$资源标题$ - $模块$ - $产品名称$(如:综合信息 - 报告 - 有数BI)

7、全局参数性能优化